Всем доброго дня!
Не стал сразу комментировать пост RadiohateRR'а, по поводу создания устройства для перемотки.
Несколько месяцев собирался написать, как я реализовал задуманное мной устройство, которое совмещает в себе перематыватель и устройство для очистки, наверное пора.
Изначально, у меня задача была тривиальной - сделать перематыватель с горизонтально расположенными дисками, но гораздо более компактный, чтобы пользоваться им дома, на столе. Потом я подумал, что примерно за +/- те же деньги лучше сделать устройство, которое совместит в себе 2 функции - перемотку и очистку.
Об очистке фильмокопий я мечтал давно, т.к. в подавляющем большинстве, все фильмокопии имеют на себе большое количество пыли и грязи. Иногда, фильмы катастрофически грязные, будто валялись в пыли на дороге. Лентопротяжный тракт проектора после таких копий покрывается слоем той же пыли, спрессованной грязи и нагара в фильмовом канале, на барабанах и т.п. До полноценной мойки я пока ещё не созрел, и пока хотелось более простое решение. Я вспомнил, что в европейских кинотеатрах достаточно давно и широко используются устройства для очистки, закреплённые прямо на проекторах, и выполняющие протирку поверхности фильмокопии безворсовой тканью из рулона при каждой демонстрации (или при перемотке на столе, тогда устройство крепят на нём). Чистящее полотно изготовлено из нетканого синтетического материала (полиамид), и периодически пропитывается при помощи распылителя чистящей жидкостью, состоящей из углеводородного растворителя с добавкой силиконового или минерального масла. Растворитель со временем испаряется, и ткань становится равномерно пропитанной небольшим количеством чистого масла. Наши зарубежные коллеги всячески хвалят такой способ поддержания фильмокопий в хорошей кондиции, особенно, когда речь идёт о копиях первого экрана.
Я изучил патенты на эти устройства, и сформировал для себя образ будущего изделия. Все зарубежные устройства являются пассивными, чисто механическими, и, имеют привод от плёнки - она вращает за счёт фрикционного контакта барабан большого диаметра, который через редукторы с большим передаточным отношением осуществляет очень медленную протяжку чистящей ткани через контактные ролики. Заявляемое передаточное отношение - 8000...10000:1. Такие "бешенные" отношения можно получить только за счёт многоступенчатых червячных редукторов. Как вариант, можно применять индивидуальный привод, установив и настроив соответствующим образом шаговые двигатели. Но при этом, нужно как минимум 3 комплекта двигателей и драйверов к ним, а это сильно увеличивает затраты. Мне пассивный привод протяжки плёнки не годился, тем более, что требовалась равномерная протяжка плёнки, не зависящая от диаметра рулонов. Я применил один шаговый двигатель, рассчитал и изготовил все элементы передаточного механизма из пластика PETG, на 3Д-принтере.
Устройство представляет собой сборный несущий стальный корпус (2 мм), на ножках с резиновыми опорами. В качестве приводных валов в основном использованы хромированные направляющие ф8 мм, единственный вал ф9 мм для крепления тянущего барабана пришлось купить в виде прутка сортового проката, на всех приводных валах применены подшипники качения. Катушки для размотки/намотки протирочной ткани удерживаются на своих шпинделях при помощи магнитов, это облегчает наладку и замену протирочного материала. С поиском материала для протирочной ткани было непросто - в подавляющем большинстве случаев, его продают в перфорированных рулонах, мне же требовался неперфорированный. В качестве привода перематывателя применён двигатель АВЕ-042, 1300 об/мин, 25 Вт и зубчато-ременная передача 10:1. В качестве наматывателя применяется готовый наматыватель от проектора 35КСА с двигателем глубокого скольжения. Перематыватель и наматыватель закреплены на одном кронштейне, который крепится на верхней грани корпуса, и предполагает быструю разборку в случае необходимости. На этом кронштейне также закреплены направляющие ролики и рычажный датчик автоматической остановки. Все электрические соединения выполнены на разъёмах. Перемотка выполняется с одной скоростью, скорость протяжки при очистке можно плавно регулировать, от 0 до примерно скорости проекции. Применены стандартные изделия: скачковый барабан КН/23КПК и обводные ролики КН/ПК. Устройство стремился сделать достаточно компактным, и в дальнейшем мне это осложнило сборку, я долго её откладывал, ломал голову, как разместить драйвер, блок питания, несколько реле, переключатели, регулятор протяжки и вентилятор внутри корпуса. В итоге, немного пострадав, я это выполнил, но показывать никому не буду. )))
Читая литературу я встречал, что для очистки плёнки допустимо применять в т.ч. нефтяные растворители. Потому, изначально планировал попробовать предварительно пропускать плёнку через небольшую ванну с растворителем, с последующим снятием этого растворителя вместе с грязью на безворсовую ткань, и обдувом потоком воздуха перед намоткой в рулон. После первых испытаний стало понятно, что слишком много растворителя уносится на плёнке, и не весь он снимается протирочной тканью, хотя, очистка выполняется достаточно хорошо. В итоге, от этой идеи пришлось отказаться, и вернуться к пропитке ткани силиконовым маслом. Протирочная жидкость - нефтяной растворитель с добавкой масла ПМС-20 (10%).
Очистка рулона 600 м выполняется примерно 30 минут, и расходуется примерно от 12 до 20 см протирочной ткани. Хоть ткани для протирки у меня и много, но я планирую стирать отработанные рулоны, т.к. материал имеет высокое качество и рассчитан на тяжёлые условия эксплуатации. Пока не пробовал, Очень грязные фильмокопии необходимо прогнать через устройство несколько раз, потому как оно не моет киноплёнку, а только собирает грязь на протирочную ткань в месте контакта с плёнкой. На мой взгляд, при первом проходе, с поверхности плёнки удаляется бОльшая часть загрязнений. Это устройство предназначено скорее для поддержания фильмокопии в относительно чистом состоянии, и не заменяет собой мойку. После такой очистки, результат прогонов в проекторе меня удовлетворил. Лентопротяжный тракт совершенно не загрязняется, в отличие от прогона плёнки до очистки.
Несколько фото:
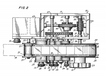
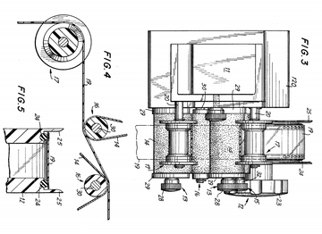
Прототипы из зарубежных патентов 1979 и 1973 гг.:
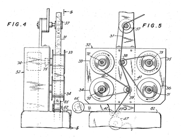
Внешний вид, общий план:
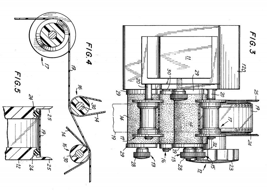
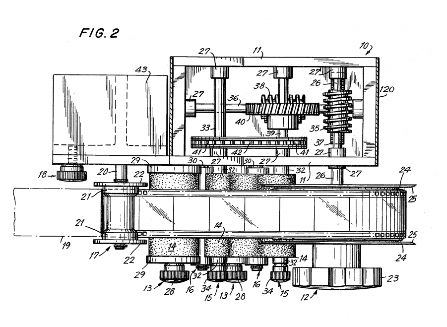
Внешний вид, лентопротяжный тракт:
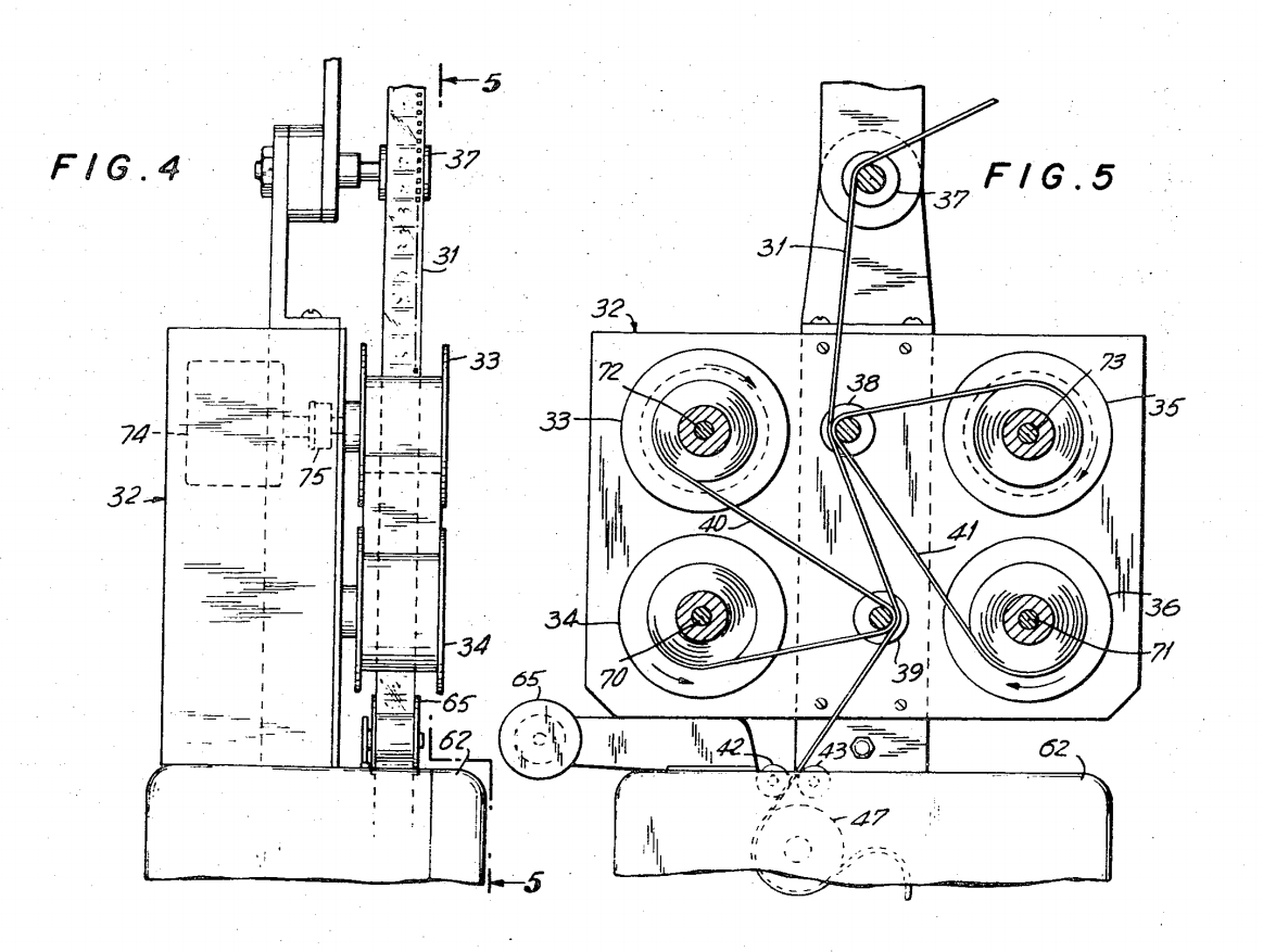
Кинематическая схема:
Ткань после очистки очень грязной фильмокопии:
Ткань после очистки относительно чистой фильмокопии:
На фото видны характерные тёмные (более грязные) участки в местах прохождения начальных/конечных ракордов, а также, на склейках частей в рулон 600 м.
Что требует доработки: торможение разматывателя при перемотке/очистке (хорошо получается тормозить постоянным током); вентилятор обдува киноплёнки решил упразднить из-за несостоятельности идеи; добавить небольшой светильник для подсветки рабочего места; возможно заменить рычажный датчик автостопа на боковой; добавить к рычагу потенциометр для автоматической регулировки натяжения в процессе перемотки; закрыть кожухами двигатели и провода на моторах наматывателя/перематывателя.
Попробовав эту конструкцию, я понял, что может быть и нет ничего плохого в трёх комплектах приводных шаговых двигателей, и может быть стОило немного наклонить корпус назад и т.п. Но, тем не менее, прибор работает, и приносит мне пользу.
Возможно, написал немного сумбурно. Но когда сел писать, понял, что полноценное и подробное описание всех моментов и особенностей сделать физически не смогу... )
P.S.: Добавлю, что при создании устройства принципиально не пользовался услугами мастеров токарных дел. Ибо озверели просто с ценами. Я так свою з/п умножать не могу... Использовал только УШМ, шлифмашину, аккумуляторную дрель и ручной слесарный инструмент.
Отредактировано Georg (24-12-2025 20:24:16)










